The company's next console, the Nintendo Switch (above), is set to arrive in March 2017. It's a home console/portable console hybrid — the idea is you can play the same games at home as you do on, say, the bus to work. It's rumored to be nearly as powerful as the PlayStation 4 and Xbox One.
The gimmick of the Switch is its detachable screen. The screen itself is the console, processing and all — it's basically a tablet with a bunch of peripherals.
You attach the screen to two "Joy-Con" controllers and it becomes a portable console. Or you slide out the kickstand and use the controllers as gamepads, one in each hand. Or you slide the screen into a dock at home and it becomes a home console.
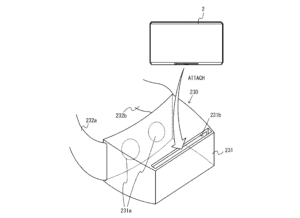
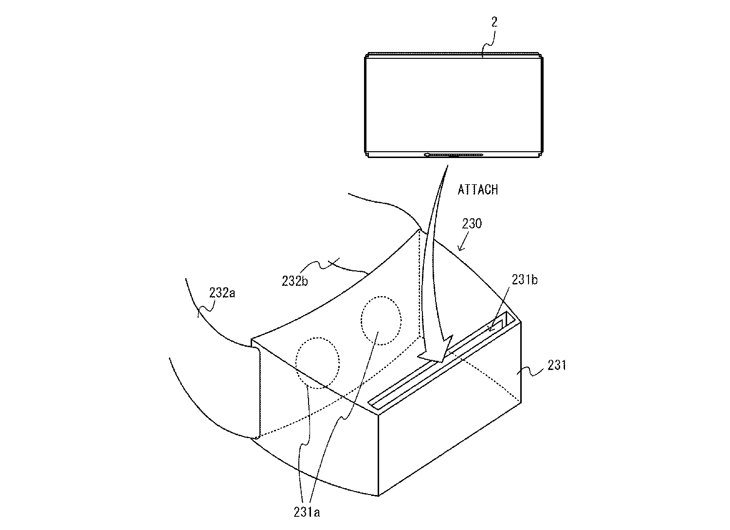
Or, apparently, you slide the screen into a VR headset and it becomes a full-on virtual reality head-mounted display.

That image comes from a recently published patent, which Nintendo filed back in June 2016.
See the full story here: http://www.businessinsider.com/nintendo-switch-patent-vr-virtual-reality-headset-2016-12