philip lelyveld The world of entertainment technology

4Jan/18Off

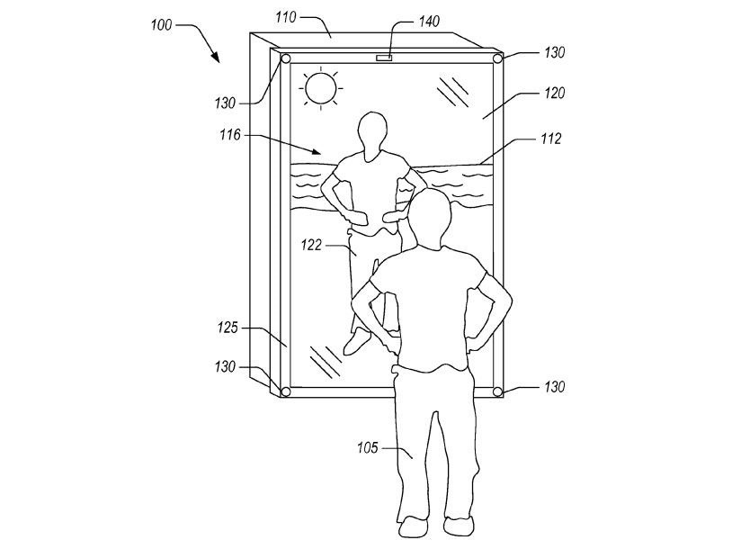
Augmented Reality Mirror Patent from Amazon Can Turn Fitting Rooms into Exotic Locales

augmented-reality-mirror-patent-from-amazon-can-turn-fitting-rooms-into-exotic-locales.w1456In its continued pursuit to elevate retail technology, Amazon has been awarded a patent from the US Patent and Trademark Office for a digital mirror that lets customers virtually try on clothes with different backgrounds.

According to US Patent No. 9858719 (as originally discovered by GeekWire), the system combines a display placed behind a mirror, with the display generating dark and light patterns so that images, such as clothing and backgrounds, are viewable through the mirror.

In addition, projectors would shine on objects in front of the mirror, such as a customer's face, so that they appear reflected in the mirror. In the patent, Amazon calls the concept "blended reality."

See the full story here: https://augmented.reality.news/news/augmented-reality-mirror-patent-from-amazon-can-turn-fitting-rooms-into-exotic-locales-0181971/

Comments (0) Trackbacks (0)

Sorry, the comment form is closed at this time.

Trackbacks are disabled.