Google has applied for a patent in the US to attach wheels to VR shoes… stick with me here. The concept is a motorised shoe that would keep a user within safe boundaries during virtual reality play while, in theory, allowing you to walk freely within virtual worlds without ever worrying about walking into a wall or smashing your TV to pieces. In theory.
Google’s response is a motorised roller skate to scoot you around virtual worlds without you unknowingly breaking everything or yourself in real life.
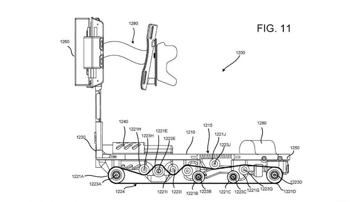
Essentially, a tracking sensor fitted somewhere in the environment or on the device itself will measure where the user is located within a predefined zone. Once a user walks past the threshold, or outer limits of the defined space, the shoe’s motor kicks in, moonwalking the user back to the relative safety of the play area.
Balancing out the retrograde motion of the shoes with the forward motion of the player is surely going to be a monumental task on its own. And then getting developers to implement it properly in their VR games/experiences without making people sick and/or making them fall flat on their face is going to be mighty tricky too.